ダッシュボード
概要:ログインした時に最初に表示されるダッシュボード画面です。自分宛のTODOや、お知らせなどを確認することができます。
経営ダッシュボードとの画面切り替え

ダッシュボード
1)ユーザ管理画面で経営ダッシュボード権限が付与されたユーザにのみ表示されます。
2)押下するとダッシュボード画面へ遷移します。
経営ダッシュボード
1)ユーザ管理画面で経営ダッシュボード権限が付与されたユーザにのみ表示されます。
2)押下すると経営ダッシュボード画面へ遷移します。
TODO
TODOについてには以下をご覧ください。
お知らせ

お知らせ登録画面で登録された、以下条件に合致するお知らせを表示します。
1)表示期間内であること。
2)全社向けのお知らせであること。
3)ログインしている営業所向けのお知らせであること。
詳細ボタン
押下するとお知らせ詳細モーダルが表示されます
タイトル
お知らせのタイトルを表示します。
詳細
お知らせの本文の先頭100文字を表示します。
お知らせ詳細モーダル
タイトル
1)フォームですが編集不可です。
2)お知らせのタイトルを表示します。
内容
1)フォームですが編集不可です。
2)お知らせの本文を全文表示します。
登録日
1)フォームですが編集不可です。
2)お知らせの登録日を表示します。
登録者
1)フォームですが編集不可です。
2)お知らせの登録者を表示します。
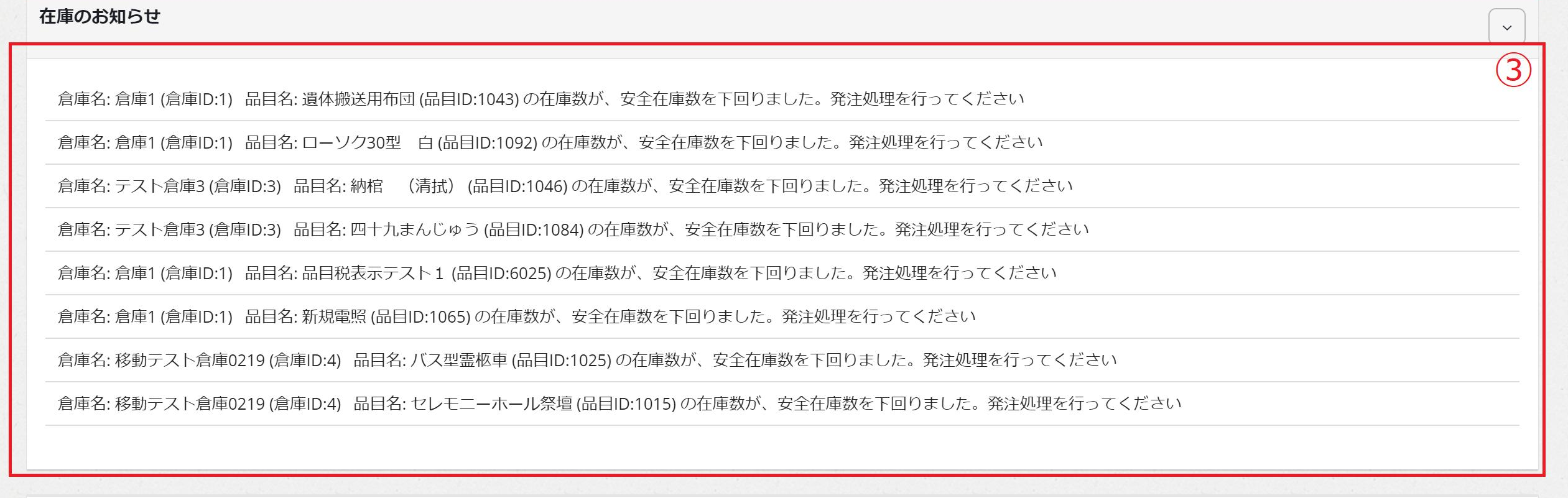
在庫のお知らせ

1)実在庫数が発注点を下回る品目が存在する場合に「倉庫名: XXXXX (倉庫ID:NN) 品目名: XXXXX (品目ID:NN) の在庫数が、安全在庫数を下回りました。発注処理を行ってください」というメッセージが表示されます。発注点とは、品目マスタ画面の品目在庫欄にある発注点で設定した数値のことです。
2)安全在庫のお知らせが1件も無い場合は枠自体が非表示となります。
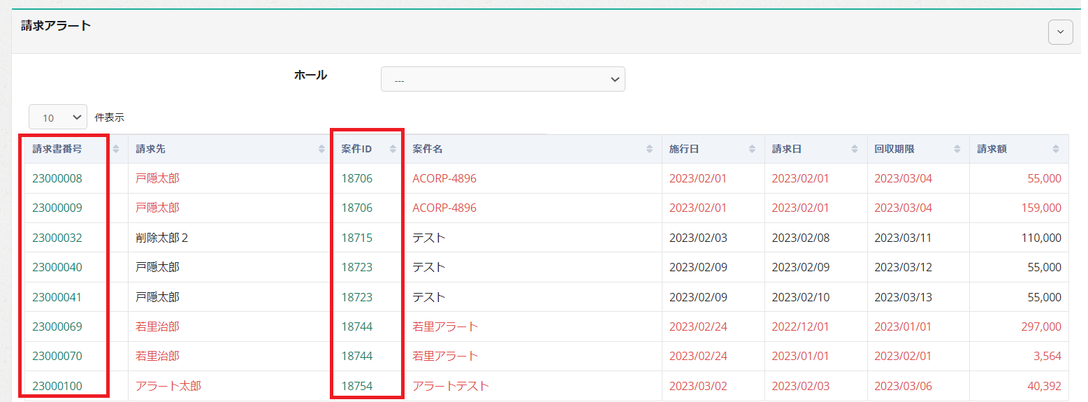
請求アラート

1)回収期限が近い、もしくは期限切れの請求書レコードを表示します。
2)アラートの条件は以下の通りです。
■回収期限が近い場合(黒文字)
請求ステータスが請求済、かつ回収期限が当日含め1週間以内に切れるもの
■回収期限が切れている(赤文字)
請求ステータスが請求済、かつ回収期限が切れているもの
ページネーション
10件ごとに表示を分割して表示します。左下部にある数字を押すと、表示データを切り替えすることができます。
ホール
1)初期値はログイン時に指定したホールです。
2)プルダウンを変更すると、請求対象がホールごと(=見積もりの手数料区分)で絞り込まれます。
請求書番号
1)請求番号を表示します。
2)押下すると請求先顧客の消込画面(入金)へ遷移します。
請求先
請求先の顧客名を表示します。
案件ID
1)案件名IDを表示します。
2)押下すると請求画面へ遷移します。
案件名
案件名を表示します。
施行日
施行日を表示します。
請求日
請求日を表示します。
回収期限
回収期限を表示します。
請求額
請求額を表示します。
予定

予定を確認したい日時を指定すると、画面が再描画され、指定した日時の予定が表示されます。
ホール
1)初期値はホール未指定。全てのホールの日程が表示されます。
2)予定を確認したいホールを指定すると、画面が再描画され、指定したホールの予定のみが表示されます。
3)ホールは案件の実績区分と紐づいています。
通夜予定・納棺予定・出棺予定・火葬予定・葬儀予定
初期表示時には、アコーディオンは開いています。
1)指定した日時で予定(案件 > 打ち合わせ画面で登録されたもの)がある場合にデータが表示されます。
2)予定が存在しない場合には「通夜(納棺・出棺・火葬・葬儀)はありません」というメッセージが表示されます。
案件名
押下すると案件打合せ画面へ遷移します。
時間
1)予定の時間が表示されます。
2)開始時間のみが表示されます。
場所
予定の場所が表示されます。
担当者
予定の担当者が表示されます。
法事予定
初期表示時には、アコーディオンは開いています。
1)指定した日時で予定(案件 > 打ち合わせ画面で登録されたもの)がある場合にデータが表示されます。
2)予定が存在しない場合には「法事はありません」というメッセージが表示されます。
3)施行種別に法事が複数登録されている場合は、全ての法要の日時情報が表示されます。
案件名
押下すると案件打合せ画面へ遷移します。
時間
1)予定の時間が表示されます。
2)開始時間のみが表示されます。
場所
予定の場所が表示されます。
担当者
予定の担当者が表示されます。
未完了件数

初期表示時には、アコーディオンはたたまれています。
未回収件数
請求書を発行し、売掛金の消込を行っていない件数のうち、長期未回収件数を引いた件数を表示します。
長期未回収件数
14日より前に請求書を発行し、売掛金の消込を行っていない件数を表示します。
業績サマリー
初期表示時には、アコーディオンは閉じています。
確認したい月を指定すると、画面が再描画され、指定した月の結果が表示されます。
入会数グラフ

日時選択
1)グラフの表示設定がONの場合のみ表示されます。ON/OFFの設定についてはお問い合わせください。
2)確認したい月を指定すると、指定した月の結果が表示されます。
3)画面は再描画されず、結果が即時表示されます。
※入会日を設定して即時反映される仕様ではありません。日次のグラフ更新のタイミングで反映されます。
入会数
1)グラフの表示設定がONの場合のみ表示されます。
2)期首からの入会数を、会種別ごとに月単位で表示します。
・表示対象の会種別は、グラフの設定ファイルで設定された件数分表示されます。
3)集計の仕様
・顧客情報画面での会員登録の件数を集計(1人の顧客に複数会員登録があれば全て集計します。また一人の顧客に同じ会種別で複数登録がある場合にはまとめず、登録ごとに1件の集計となります。)
・集計基準日:入会日
・抽出条件:入会日が設定されていること
・抽出期間:期首から処理月の月末
・集計単位:入会日、会種別※会種別マスタの削除フラグは考慮していません(削除フラグ:ONでもグラフに表示される。抽出条件が満たされていればそこにカウントされる。)
当日問合せ件数

1)表示設定がONの場合のみ表示されます。ON/OFFの設定についてはお問い合わせください。
2)受付日が当日の日付である案件数を表示します。
